На иллюстрациях, описывающих патент, видно, что аппарат складывается горизонтально посередине дисплея, что в основном предусматривает «горизонтальное» использование гаджета. Об этом сообщил портал mail.ru.
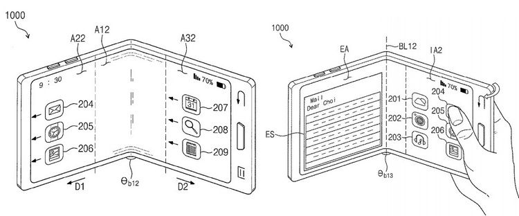
Компания запатентовала и другой дизайн: смартфон складывается сразу в двух разных местах.Технология «тройного складывания» предусматривает уникальные сценарии использования, обычно недоступные в варианте с одним шарниром. Например, можно поставить устройство вертикально, превратив одну из частей его экрана в подставку. Система сможет распознавать все варианты складывания и исходя из этого формировать интерфейс.
На иллюстрациях показаны оба смартфона: складывающиеся пополам и с тройным складыванием. На одном из них открыто сообщение электронной почты, занимающее половину экрана, тогда как другая занята значками приложений. Таким образом, интерфейс будет очень гибким. Кроме того, патент раскрывает планы Samsung относительно смартфонов с прозрачным дисплеем. Такое устройство будет работать с дополненной реальностью, давая пользователю возможность видеть реальный мир прямо через дисплей с «наложенным» на него цифровым контентом.

